2024级新生团员团组织关系转接指南
发布日期:2024-08-26 08:50

新生团员须知
01为什么要进行团组织关系转接?
       根据《团章》规定,团员由一个基层组织转移到另一个基层组织,必须及时办理组织关系转接手续。明确自己隶属的团支部,积极参加团支部的组织生活,是一名合格共青团员应尽的义务和必须遵守的纪律。按规定,已升学的团员,团组织关系应该从原就读学校或单位转到新就读学校。
02员档案包含哪些材料?
       团员证、入团申请书、入团志愿书(遗失的须有转出团组织盖章的《团员身份证明》)、团组织关系转接介绍信。
03团组织关系转接面向的对象有哪些?
       2024级全日制新生团员。
04新生团组织关系转接分为哪几部分?
       包括线下转接和线上转接两个部分,不可或缺。
新生团组织转接的具体流程是什么?
(一)线下转接流程
       新生团员报到后,所在学院团委将审核新生团员证、入团申请书、入团志愿书、团组织关系转接介绍信等团员材料。
材料要求:
       01团员证首页基本信息需全部如实填写,照片应加盖团员证发放单位(学校)团委钢印;团籍注册页应有以往注册信息;组织关系转接页面需确保转出信息填写齐全,加盖团委印章。若团员证丢失,应及时通过原单位(学校)团组织进行补办。
       02新生团员应与团组织关系原单位(学校)确认团员档案中相关材料内容是否完整,包含入团申请书、入团志愿书等材料,且要保证档案袋密封;若团员档案存在缺失、遗失情况,应回原单位(学校)开具相关证明,作为团员身份证明纳入团员档案中。
(二)线上转接流程
       转入申请既可以由团员本人发起,也可由原所在单位(学校)团组织发起。
1.登录个人智慧团建系统
       网址:https://zhtj.youth.cn/zhtj/
       其中,北京、广东、福建地区的新生团员确保可登录本省(市)团建系统或共青团服务系统,申请转接团组织关系,按照相关要求进行操作即可。
       注意:账号为身份证号,初始密码为身份证号后八位。(如果已修改密码,则按修改后的密码登入)
2.登录后在首页找到“关系转接”选项
3.按照要求填写申请
注意:
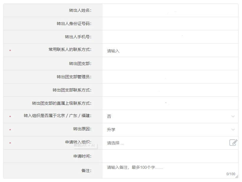
1、带*号的信息要填写准确
2、转入组织是否属于北京/广东/福建:否
3、转出原因:升学
       要转到山东圣翰财贸职业学院商学院2024级财务管理1班团支部,那么需要依次选择【团山东省委】【团济南市委】【山东圣翰财贸职业学院团委】,再输入自己学院的名称,在下面找到后点击选择。切记不要直接选择转入“山东圣翰财贸职业学院团委”,否则无法后期查询团员信息。
4. 核对好信息后点击提交等待审批
       申请完成之后,可以在操作中心中查询发起的申请和处理状态。
       以上有关智慧团建系统的操作也可以通过微信小程序完成,操作步骤与网页版基本相同,各位同学可以根据自身情况进行选择。
5、关于新生团组织关系转接疑难问题解答
01电脑操作系统有什么要求吗?
      答:最好使用Windows7、Windows8、Windows10或MacOS登入,使用Windows XP系统可能会无法登录。
02显示身份证或密码错误时,该如何操作?
       答:若显示身份证或密码错误,请及时联系原单位(学校)确认本人是否已被录入“智慧团建”系统,若确认在系统内,及时联系原单位(学校)本级或直属上级团支部管理员生成密码重置码,拿到密码重置码后点击【忘记密码】,按照页面要求进行操作修改密码即可。
03若智慧团建信息录入错误,该如何处理?
       答:目前系统内团支部的成员姓名和身份证号录入错误的,不得自行修改。团员将需删除人姓名、身份证号码及删除原因上报原单位(学校),重新录入确认无误后再进行转接。
04在智慧团建系统中没有查到自己的信息怎么办?
       答:若个人信息显示未在系统中,需联系原单位(学校)确认是否录入信息;若未录入,由原单位(学校)录入。
05转出申请发出后会立即转入新的团组织吗?
       答:一般情况下,转入申请审核要按顺序通过组织审核,分别是:转出方上级团组织,接收方上级团组织。提交转入申请后,会有10天的审核周期,请同学耐心等待。
       以上就是有关新生团员团组织关系转接的问题,请大家一定要仔细阅读,报到后所在学院团委会通知大家统一进行团组织关系转接。